產品編號:GAC…S?25~200
滑動磨擦副:鋼/鋼
產品特點:內、外圈材料均為軸承鋼,淬火,磷化,外圈有潤滑油槽油孔,內球面有兩條交叉潤滑槽,滑動表面涂敷二硫化鉬。
使用溫度范圍:-50℃~+150℃
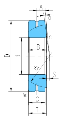
軸 承 型 號 Bearing number | 外 形 尺 寸 Dimensions mm | 額定載荷 Load ratings kN | 重 量 Weight ≈kg | ||||||||||
d | D | B | C | T | dk | S | A | rs,r1s min | α? ≈ | 動載荷 Dynamic | 靜載荷 Static | ||
GAC25S | 25 | 47 | 15 | 14 | 15 | 42 | 0.6 | 7.5 | 1 | 2.5 | 50 | 250 | 0.148 |
GAC28S | 28 | 52 | 15 | 15 | 16 | 47 | 1 | 8 | 1 | 2 | 60 | 300 | 0.186 |
GAC30S | 30 | 55 | 17 | 15 | 17 | 49.5 | 1.3 | 8.5 | 1 | 4.5 | 63 | 315 | 0.208 |
GAC32S | 32 | 58 | 17 | 16 | 17 | 52 | 2 | 8.5 | 1 | 2 | 71 | 354 | 0.241 |
GAC35S | 35 | 62 | 18 | 16 | 18 | 55.5 | 2.1 | 9 | 1 | 4 | 78 | 390 | 0.268 |
GAC40S | 40 | 68 | 19 | 17 | 19 | 62 | 2.8 | 9.5 | 1 | 3.5 | 92 | 463 | 0.327 |
GAC45S | 45 | 75 | 20 | 18 | 20 | 68.5 | 3.5 | 10 | 1 | 3 | 108 | 540 | 0.416 |
GAC50S | 50 | 80 | 20 | 19 | 20 | 74 | 4.3 | 10 | 1 | 1.5 | 123 | 618 | 0.455 |
GAC55S | 55 | 90 | 23 | 20 | 23 | 82 | 5 | 11.5 | 1.1 | 4 | 144 | 721 | 0.645 |
GAC60S | 60 | 95 | 23 | 21 | 23 | 88.5 | 5.7 | 11.5 | 1.1 | 2.5 | 163 | 817 | 0.714 |
GAC65S | 65 | 100 | 23 | 22 | 23 | 93.5 | 6.5 | 11.5 | 1.1 | 1 | 180 | 905 | 0.759 |
GAC70S | 70 | 110 | 25 | 23 | 25 | 102 | 7.2 | 12.5 | 1.1 | 2 | 206 | 1030 | 1.04 |
GAC75S | 75 | 115 | 25 | 24 | 25 | 107 | 7.9 | 12.5 | 1.1 | 1 | 220 | 1129 | 1.12 |
GAC80S | 80 | 125 | 29 | 25.5 | 29 | 115 | 8.6 | 14.5 | 1.1 | 3.5 | 258 | 1290 | 1.54 |
GAC85S | 85 | 130 | 29 | 26.5 | 29 | 122 | 9.4 | 14.5 | 1.1 | 2 | 284 | 1422 | 1.61 |
GAC90S | 90 | 140 | 32 | 28 | 32 | 128.5 | 10.1 | 16 | 1.5 | 3.5 | 316 | 1580 | 2.09 |
GAC95S | 95 | 145 | 32 | 29.5 | 32 | 135 | 10.8 | 16 | 1.5 | 2 | 350 | 1750 | 2.22 |
GAC100S | 100 | 150 | 32 | 31 | 32 | 141 | 11.6 | 16 | 1.5 | 0.5 | 384 | 1923 | 2.34 |
GAC105S | 105 | 160 | 35 | 32.5 | 35 | 148 | 12.3 | 17.5 | 2 | 2 | 423 | 2116 | 2.93 |
GAC110S | 110 | 170 | 38 | 34 | 38 | 155 | 13 | 19 | 2 | 3 | 463 | 2318 | 3.68 |
GAC120S | 120 | 180 | 38 | 37 | 38 | 168 | 14.5 | 19 | 2 | 0.5 | 547 | 2735 | 3.97 |
GAC130S | 130 | 200 | 45 | 43 | 45 | 188 | 18 | 19 | 2.5 | 1 | 710 | 3550 | 5.92 |
GAC140S | 140 | 210 | 45 | 43 | 45 | 198 | 19 | 19 | 2.5 | 1 | 740 | 3740 | 6.33 |
GAC150S | 150 | 225 | 48 | 46 | 48 | 211 | 20 | 20.5 | 3 | 1 | 850 | 4270 | 8.01 |
GAC160S | 160 | 240 | 51 | 49 | 51 | 225 | 20 | 22 | 3 | 1 | 970 | 4850 | 9.79 |
GAC170S | 170 | 260 | 57 | 55 | 57 | 246 | 21 | 27 | 3 | 1 | 1190 | 5950 | 12.3 |
GAC180S | 180 | 280 | 64 | 61 | 64 | 260 | 21 | 28 | 3 | 1 | 1395 | 6970 | 17.4 |
GAC190S | 190 | 290 | 64 | 62 | 64 | 275 | 26 | 30 | 3 | 0.5 | 1500 | 7500 | 18.2 |
GAC200S | 200 | 310 | 70 | 66 | 70 | 290 | 26 | 30 | 3 | 1.5 | 1680 | 8420 | 23.8 |
??????????